来源:蓝鲸财经

前海联合财险变局时刻:钜盛华所持20%股权将七折拍卖,总经理李功霓履职一年后辞任  第1张

  在阿里司法拍卖平台,新疆前海联合财产保险有限公司(下称“前海联合财险”)20%股权将于7月21日正式拍卖。该笔股权由宝能集团旗下深圳市钜盛华股份有限公司(下称“钜盛华”)持有,评估价4400万元,起拍价3080万元,折价三成。

  作为“宝能系”险企,在宝能集团深陷债务危机的背景下,前海联合财险股权被冻结拍卖不难预见。

  蓝鲸新闻记者注意到,当前,前海联合财险管理层不稳,2024年上任的总经理李功霓近日离职,今年年初上任的董事长霍建梅出任临时负责人。公司业绩也有所承压,连续12季度风险评级为C级,综合偿付能力逼近监管红线。最终,前海联合财险20%股权能否觅得接盘方,值得持续关注。

  钜盛华所持20%股权不日拍卖,估值4400万7折起拍

  2016年,由宝能集团主要金融企业持股平台钜盛华等5家企业共同发起设立的前海联合财险开业,5家股东各自持股20%,宝能系实控人姚振华出任董事长。至此,宝能系再斩获一张财险牌照,前海联合财险也被打上“宝能系”的标签。

  但这家昔日的实力股东,却迅速陷入债务危机,宝能集团、钜盛华陷入多起司法案件,作为旗下资产之一的前海联合财险20%股权也陷入数轮冻结,最新一轮冻结期至2028年3月4日。

  冻结股权在近日迎来拍卖,从阿里司法拍卖平台的信息来看,钜盛华所持前海联合财险20%股权将于7月21日10时开拍,起拍价3080万元,为评估价4400万元的7折。

前海联合财险变局时刻:钜盛华所持20%股权将七折拍卖,总经理李功霓履职一年后辞任  第2张

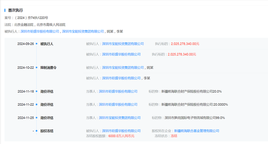
  拍卖执行方为北京金融法院,据(2024)京74执1220号执行。从天眼查该执行文书相关信息来看,2024年9月,法院判决深圳市宝能投资集团有限公司及钜盛华股份执行20.25亿元,一个月后姚某、李某被下发限制消费令,同年11月,前海联合财险20%股权、深圳市笋岗国际电子物流城有限公司99%股权被询价评估,同月新疆前海联合基金管理有限公司股权被冻结。

前海联合财险变局时刻:钜盛华所持20%股权将七折拍卖,总经理李功霓履职一年后辞任  第3张

  值得一提的是,前海联合基金30%股权自2024年开始曾5度挂牌、4度流拍,直到今年2月,上海证券作为唯一竞拍人以3766.22万元的起拍价拿下了前海联合基金30%的股权,这一价格较该笔股权最初的成交价,有44%的折价。

  对比评估价,前海联合财险此次起拍价,亦有所折价。折价背后,与股东、市场均有关联,但最为关键的,还是标的成色。

  管理架构不稳,总经理李功霓上任一年多即辞任

  管理层的不稳定,是前海联合财险成立以来的积弊。

  2017年,因前海人寿激进投资、违规运用保险资金等相关行为,同时担任前海人寿、前海联合财险董事长职务的姚振华被撤销任职资格并禁业10年。

  随后,宝能集团的黄炜“临危受命”,补位前海联合财险董事长一职,但任职不足两年,公司再次发出董事长变更公告。2019年9月,时任宝能集团副董事长、联席总裁冀光恒出任前海联合财险董事长职务,但仅半年便辞去了职务。

  2021年4月,黄炜回归该公司董事长一职,但上任不久,次年8月,中国宝能公众号发布声明称,黄炜因个人原因正配合有关部门调查。

  后公司董事长一职持续空缺,直至今年1月,经监管批复,现年64岁的霍建梅出任前海联合财险董事长,官网显示,霍建梅曾长期就职于中国平安,担任平安集团部门负责人、集团下属专业公司及上市公司高级管理人员、平安产险等多家专业公司的机构负责人,工作经历涉及保险、投资、科技等多领域。

  总经理职务方面,蓝鲸新闻记者关注到,6月13日,前海联合财险同步公告称,李功霓因个人原因辞去公司总经理职务,不再担任公司及下属机构任何职务;经董事会审议通过,并向深圳金融监管局报备,霍建梅出任公司临时负责人。

前海联合财险变局时刻:钜盛华所持20%股权将七折拍卖,总经理李功霓履职一年后辞任  第4张

  2024年3月,1974年出生的李功霓获批上任,这位曾在太平财险、鼎和保险、国任财险等多家公司任职的行业老将,具有丰富保险从业经验,其在上任时曾受到市场广泛关注,但就任刚满一年,即转身离去,或也不乏“急流勇退”之意。

  如今,霍建梅出任公司临时负责人,一肩挑起前海联合财险的经营管理,担子不可谓不重。

  风险评级12季度C级,综合偿付能力承压逼近“红线”

  业绩端,前海联合财险也久未见起色。

  早在2022年一季度,前海联合财险风险综合评级由B级降为C级,至今,已连续12个季度为C级,为偿付能力不达标险企。

  经营持续亏损导致的实际资本逐步损耗是其面临的主要风险之一,自成立以来,前海联合财险仅在2016年和2022年两个完整经营年度盈利,分别实现0.01亿元和0.23亿元净利润,其余年度则均为亏损,2024年净亏损1.04亿元,较上年继续扩大。

  保费方面也有所波动,在2019年收入22.66亿元保险业务收入后,逐年下滑至2022年的14.4亿元,2023年、2024年公司保费收入分别为15.64亿元、15.25亿元。

  此外, 前海联合财险多个重要经营数据也明显承压,2025年第一季度偿付能力报告显示,公司的综合成本率、综合费用率分别为201.56%、134.31%,成本高企。同期,综合、核心偿付能力充足率均为104.67%,综合偿付能力充足率指标已逼近监管划定的100%红线。

  对于风险防控举措,前海联合财险从全面强化资本管理和加强风险管理两方面做出规划。其中,针对全面强化资本管理,公司表示,一是降低经营成本,严控费用支出;二是加强经营分析,及时根据实际情况调整业务策略,坚定推进各项经营措施,改善盈利水平,持续增强内源性资本补充能力;三是进一步加大与监管和股东沟通力度,通过多种资本补充举措来实现外部资本补充,提升偿付能力充足率。

  但无论从其自身成本把控与股东支持角度来说,都有不小难度。尤其是最直接有效的向股东申请增资路径,尤为困难。

  从股权结构来看,前海联合财险目前共有5名股东,分别是钜盛华、深圳市深粤控股股份有限公司、深圳粤商物流有限公司、凯信恒有限公司以及深圳建业工程集团股份有限公司(以下分别简称“深粤控股、粤商物流、凯信恒、深圳建业”)。

  目前除粤商物流所持股权全部处于正常状态外,其余股东均有部分或全部股权处于冻结状态,其中深圳建业所持20%股权被冻结至2027年7月,深粤控股所持17.2%股权被冻结至2026年9月,凯信恒亦有所持0.7%股权被冻结。

  叠加此次股权拍卖,可谓给前海联合财险的发展又添上一笔不确定性。